Power Management ICs

Super-Small Package PWM Control, PWM/PFM Control Step-Up Switching Regulator (Boost DC-DC Converter ICs) S-8355/56/57/58 Series

The S-8355/56/57/58 Series is a CMOS step-up switching regulator (DC-DC Converter ICs) which mainly consists of a reference voltage source, an oscillation circuit, an error amplifier, a phase compensation circuit, a PWM control circuit (S-8355/57) and a PWM/PFM switching control circuit (S-8356/58). With an external low-ON-resistance Nch Power MOS, this product is applicable to applications requiring high efficiency and high output current.
The S-8355/57 Series realizes low ripple, high efficiency, and excellent transient characteristics with the PWM control circuit whose duty ratio can vary from 0 % to 83 % (from 0 % to 78 % for 250 kHz and 300 kHz models), the best-designed error amplifier and phase compensation circuits.
The S-8356/58 Series switches its operation to the PFM control circuit whose duty ratio is 15 % with to the PWM/PFM switching control circuit under a light load and to prevent decline in the efficiency by IC operation current.

Features

Low voltage operation
Start-up is guaranteed from 0.9V(Iout =1mA )
Low current consumption
During operation 25.9 µA (3.3V, 100 kHz, typ.), During shutdown 0.5 µA (max.)
Duty ratio
Built-in PWM/PFM switching control circuit (S-8356/58)
15 to 83% (100 kHz models), 15 to 78% (250 kHz and 300 kHz models)
External parts
coil, diode, capacitor, and transistor
Output voltage
0.1V step setting is available between 1.5 and 6.5V (for Vdd/Vout separate types) or 2.0 and 6.5V (for other than Vdd/Vout separate types).
Accuracy of ±2.4%.
Oscillation frequency
100, 250, 300 and 600 kHz
Soft start function
6ms (100 kHz, typ.)
Shutdown function
Lead-free products

Applications

  • Power supplies for portable equipment such as digital cameras, electronic notebooks, and PDAs
  • Power supplies for audio equipment such as portable CD/MD players
  • Constant voltage power supplies for cameras, video equipment, and communications equipment
  • Power supplies for microcomputers

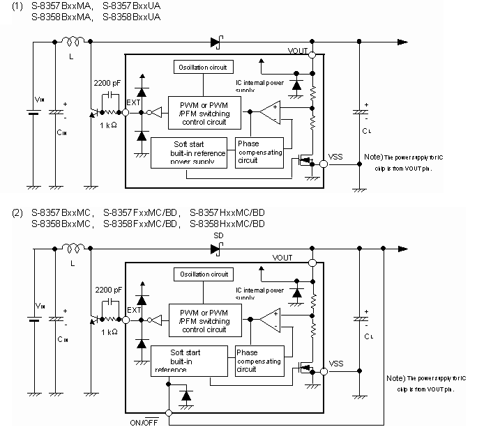
Standard Circuit

Standard Circuit

Parts List

  • Product Status : ACTIVENRND
  • U(Ux), S and G at the end of the product name of ABLIC Inc. were used to indicate different material specifications as “environmental code”,
    however, these have now been unified into “lead-free and halogen-free” and are identical in terms of environmental quality.
  • Note: Lead-free plating other than 100% Sn is applied to some limited old products, therefore, please contact our sales representatives for details.
  • These descriptions may be different from the actual product name and parameter.
    Please confirm the product name and specifications with the data sheet again.
  • The information herein is subject to change without notice.