电源管理IC

升压 超小型 600kHz PWM控制、PWM/PFM切换控制 DC-DC控制器 S-8355/56/57/58系列

数据表2019/09/19

批量下载文件

可下载与该产品相关的所有文件的压缩文件。

型号一览

Buy Online (Price and Stock)

请联系每家商店了解网上商店的可用性(在线样品)等详细信息。

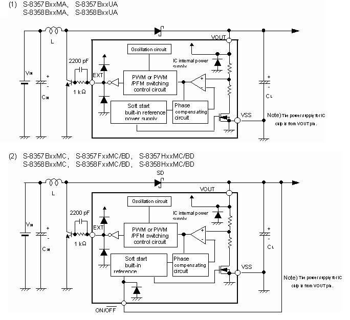
S-8355/56/57/58系列是一种CMOS升压DC-DC控制器,由基准电压源、振荡电路、误差放大器、相位补偿电路、PWM控制电路(S-8355/57)、PWM/PFM切换控制电路(S-8356/58)等构成。通过使用外接低导通电阻N沟道功率MOS,即可适用于需要高效率、高输出电流的应用电路上。
S-8355/57系列产品通过能以线性方式在0~83%(250kHz、 300kHz、600kHz产品为0~78%)范围内改变占空系数的PWM控制电路,和设定在最佳状态的误差放大电路、相位补偿电路,可获得低纹波率、高效率和良好的过渡特性。
S-8356/58系列通过PWM/PFM切换控制电路,在负载较轻时,将工作状态切换为占空系数:15%的PFM控制电路,可以防止因IC的工作电流引起的效率下降。

特点

低电压工作
可保证以0.9V (Iout=1mA)启动
低消耗电流
25.9µA 典型值(100kHz产品、3.3V、工作时)、
0.5µA 最大值 (休眠时)
占空系数
内置PWM/PFM切换控制电路 (S-8356/58)
15~83% (100kHz产品)、
15~78% (250kHz、300kHz、600kHz产品)
外接零件
线圈、二极管、电容器、晶体管
输出电压
1.5~6.5V (VDD/Vout分离型) 、
2.0~6.5V (VDD/Vout分离型以外) (以0.1V为进阶单位来选择)
输出电压精度
±2.4%精度
振荡频率
100、250、300、600kHz
软启动功能
6ms 典型值 (100kHz产品)
带开/关控制功能
无铅产品

用途

  • 数码相机、电子记事本、PDA等移动设备用电源
  • CD随身听、MD等音响装置用电源
  • 照相机、视频设备、通信设备的稳压电源
  • 微机用电源

标准电路

标准电路

型号一览

  • 产品状态 : ACTIVENRND
  • 过去,产品名称末尾的 U (Ux)、S 和 G 作为环保代码,表示不同的材料规格。现在, 这些代码都已统一为 “无铅、无卤素”,在环保质量方面完全相同。
  • 不过,有些限定的旧产品不含铅,并且采用了 Sn 100% 以外的铅电镀,详情请向我们的销售代表咨询。
  • 上述产品及参数可能与实际不符。请通过数据表再次确认产品名称与规格。
  • 本资料有可能在没有事先通知的情况下发生变更。